阅读时间大约8分钟(2959字)
出品:机器人新材料
在机器人关节驱动领域,减速器是连接动力源和执行机构的关键组件,性能直接决定机器人的运动精度、负载能力和使用寿命。目前工业机械臂及人形机器人的主流方案包括RV减速器、谐波减速器和行星减速器,但都不可避免地存在背隙问题。
背隙的存在意味着当减速器从正转切换到反转时,输出端会出现瞬间的空行程,导致定位滞后和误差。
这种误差会直接影响机器人重复定位精度,使停止位置难以保持准确。在高精度、多轴协作的机器人中,哪怕极小的背隙累积都可能引发系统共振或控制误差。
背隙问题会随着使用时间而恶化。
关节长时间运行后,齿轮啮合部件的磨损会进一步加大间隙,导致定位精度逐渐下降。为保证精度,传统方案只能通过提高零件加工精度和装配预紧来尽量减小背隙,但推高了制造成本,对于商业化应用不利。
即便借助先进控制算法实时补偿背隙,也需要依赖高性能芯片和复杂程序,不仅增加成本,且磨损引起的背隙变化无规律可循,控制补偿难以完美应对,整机性能仍难以长期稳定。
背隙在关节换向时还会引发冲击,使齿轮等传动元件受到瞬时撞击,加速疲劳损伤,缩短使用寿命。控制系统也必须考虑背隙导致的非线性,增加了控制难度。
背隙成为了精度瓶颈。要么对齿轮设计和制造精度提出极高要求,要么寻求非齿轮传动的新型减速机构,以实现极低甚至零背隙。
发明专利着力解决的问题:通过一种全摩擦式传动结构,从原理上杜绝齿轮背隙。

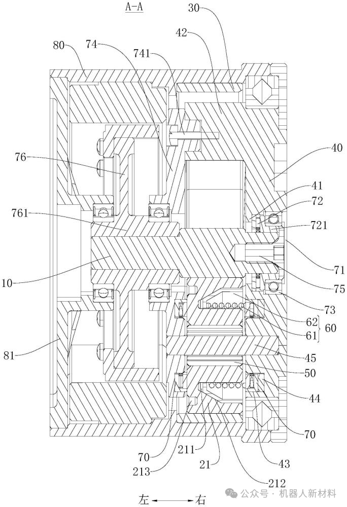
主动轮轴、摩擦轮与固定件的摩擦传动关系示意(A-A剖面图)
全摩擦式零背隙减速传动
发明专利CN202510877627提出了一种全新的减速传动装置,核心是由主动轮轴-摩擦轮-固定件构成的纯摩擦传动机制。没有任何齿轮啮合对,而是通过部件间的摩擦力来传递和转换运动,从根本上消除了齿隙。
减速器的输入轴即主动轮轴绕自身轴线高速自转,外圆表面紧贴着若干摩擦轮。
摩擦轮被压靠在主动轮轴和外部环形固定件之间:一侧与主动轮轴外表面摩擦接触,另一侧与固定环的内表面摩擦接触。当主动轮轴旋转时,通过摩擦力带动摩擦轮绕自身轴线滚动。
由于摩擦轮一边受到主动轴的驱动力,另一边受到固定环的阻力约束,摩擦轮无法只在原地空转,而是被迫沿主动轮轴公转。这种运动类似于无齿的“行星轮系”:摩擦轮绕中心主动轴作公转运动,同时自身也在滚动。借助适当的尺寸比,当摩擦轮公转一周时,主动轴可能已旋转多圈,从而实现转速减速效果——输出件连接在摩擦轮上,随着摩擦轮公转而旋转,其转速远小于主动轮轴转速,实现预期的减速比。
由于整个传动过程中依赖纯滚动摩擦,无任何齿轮啮合,因而不存在齿隙,实现了理论零背隙和高度同步的运动传递。
全摩擦式减速原理带来了诸多优点。
零背隙使定位精度不再因机械间隙而衰减,传动过程中没有齿隙空回现象。当需要频繁换向时,摩擦力的方向可以瞬时随主动轴转向反转,无需像齿轮那样先消除间隙,响应迅速,显著减少换向滞后和冲击载荷。这不仅提高了控制的敏捷性,也避免了惯性冲击对组件的损伤,从而延长了传动装置的疲劳寿命。
由于无需考虑齿轮啮合的相位滞后问题,控制算法可以大大简化,对高性能控制芯片的依赖降低,整机控制系统设计与调试更为容易,成本也随之下降。
摩擦传动减速器在动态响应和控制稳定性上都具备明显优势。
关键结构设计与创新
专利在机械结构上设计了一系列创新部件。
摩擦轮充当减速器中的“行星轮”,尺寸和布局对性能有重要影响。多个摩擦轮通常沿主动轮轴周向均匀分布,以在运转中保持受力平衡和传动平稳性。
摩擦轮直径相对于主动轮轴直径可以有不同设计,在优选方案中采用大直径摩擦轮。当摩擦轮直径大于主动轴直径时,在主动轴带动下接触点线速度相等,但摩擦轮因半径更大,自转角速度更低。
公转轨迹半径增大,使公转线速度相对更小,大幅提高了减速比。
更大的摩擦轮还意味着与固定环接触的半径增大,在相同预紧力下可产生更大的摩擦力矩,显著提升输出扭矩上限,降低过载时打滑的风险,提高传动组件的承载能力。
大直径摩擦轮在高速重载工况下运行更稳,减小了因轮径过小可能产生的摆动或偏移,确保在高负载下仍能保持精准的减速比。
摩擦轮表面材料和纹理也经过优化设计。
固定件的内壁可做成光滑环面或布有与摩擦轮表面相匹配的均匀微凸点,以增大摩擦系数。这种轮-环接触界面的设计既保证了摩擦传动力充足,又兼顾了摩擦副的耐磨性。
为使摩擦轮始终紧压在主动轮轴和固定环之间而不打滑,装置设置了预紧组件来提供持续的正压力。预紧组件由弹性件和施压件构成。弹性件处于压缩状态,与施压件相连,持续向摩擦轮和固定件施加作用力,将二者沿接触面的法线方向压紧。
当摩擦轮传动时,弹性预紧力确保其始终紧贴主动轴和固定环,不会因微振动或制造公差产生缝隙,实现真正的零背隙传动。预紧力的存在还提高了摩擦接口的刚性,使传动扭矩能够无延迟地传递。弹性加载方式对摩擦轮具有一定的缓冲作用,可吸收运动中的载荷波动,避免刚性接触导致的局部损伤。
导向腔体与施压件:
预紧组件的核心细节设计。摩擦轮内部开设一个倾斜的导向腔体,腔体轴线相对于摩擦轮轴线成一定角度。腔体内嵌入楔形的施压件,与腔体壁形成一对斜面紧密贴合。弹簧顶在施压件的一端,将沿腔体轴向推压。由于导向面相对于摩擦轮径向是倾斜的,这一轴向力被分解为两个分力:一部分沿腔体轴线方向,另一部分垂直于摩擦轮外周面方向。后者使摩擦轮产生径向胀大,将外缘更加紧密地顶向主动轴和固定环接触面,增大接触面积并使接触压力分布更均匀,显著提升了摩擦传动的稳定性和平稳性。
这种斜面楔紧机构利用了力的矢量分解和传递放大效应:相对于直接压紧,斜导向面可以将较小的轴向弹簧力转化为更大的径向压紧力,实现“以小博大”的预紧效果。

摩擦轮内部结构及预紧组件构成(弹性件+施压件设计)
镂空槽:
摩擦轮上巧妙地设置了镂空槽结构,开口位于摩擦轮一侧端面上,与预紧用的导向腔体从轴向上相对布置在摩擦轮的两侧。镂空槽的位置在摩擦轮远离主动轮轴的一侧,使摩擦轮靠近主动轴一侧仍保持足够的材料厚度和径向刚度,以有效传递预紧力。而远离主动轴一侧由于材料被去除,径向刚度相对降低,允许该侧发生适度弹性变形。当施压件施加径向胀紧力时,摩擦轮能够沿远离主动轴的一侧稍微扩张,从而实现整体更均匀的径向胀大,避免仅局部区域受力过大。
径向轴承:
为降低摩擦阻力、支撑摩擦轮并维持传动精度,专利中在关键部位引入了径向轴承元件。每个摩擦轮并非直接刚性固定在输出盘销轴上,而是通过第一支撑轴承套装上,使摩擦轮能围绕销轴自由自转。当主动轴带动摩擦轮转动时,摩擦轮相对于固定销轴的旋转由轴承的滚动体来支撑,将原本的滑动摩擦转化为滚动摩擦,大幅降低了自转阻力和磨损。
在摩擦轮轴向两侧,还对称地布置了第一径向轴承抵靠摩擦轮的端面。这些轴承的内圈固定在行星架盖板和输出件的限位槽中,外圈则与摩擦轮端面紧贴但不刚性连接,能够自由转动。当预紧弹簧通过施压件对摩擦轮施加轴向分力时,轴承外圈承受并传递该轴向载荷,避免将挤压力直接作用在摩擦轮本体上,防止摩擦轮发生轴向歪斜或窜动。两侧轴承对称支撑使轴向力平衡,摩擦轮在旋转时始终被限制在正确位置,不会倾斜偏离,这保证了摩擦轮与主动轴接触位置在轴向方向上的稳定性。
关节模组与机器人系统优势
基于减速传动装置,可以进一步构建机器人关节模组和整机系统。关节模组通常将减速器与伺服电机、编码器等集成为一体化组件。专利所述方案由于结构上采用同轴设计,主动轮轴可直接作为电机转轴或与电机输出轴相连,输出件则可以方便地连接关节的负载部件。装置本身带有环形外壳,可与机器人机体相连,形成一个紧凑的关节单元。这种模块化关节便于安装,更换和维护。
发明专利CN202510877627提出的全摩擦式减速传动装置,通过巧妙的结构设计实现了真正意义上的零背隙和高精度、高响应传动,解决了传统齿轮减速器的痛点。有望提升机器人关节的性能上限,降低控制复杂性和成本,促进机器人在更多领域、更高精度场景下的应用。
