阅读时间大约7分钟(2731字)
作者:谢春生 出品:源媒汇
一笔巨额融资,将一家低调的人形机器人独角兽拉进大众视野。
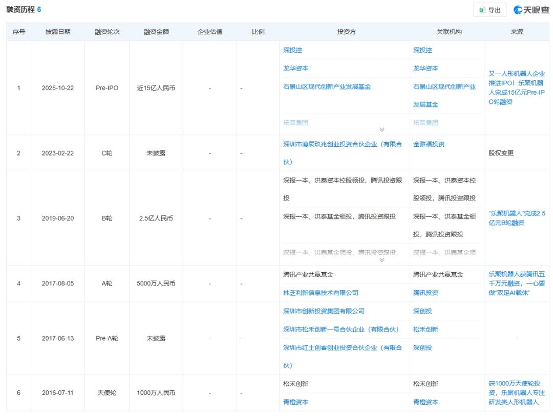
近来,乐聚机器人宣布,公司于近日完成近15亿元Pre-IPO轮融资,资金将用于强化核心技术研发、深化产业链布局以及完善产业场景应用等。本轮投资方阵容豪华,包括深投控资本、深圳龙华资本、前海基础投资、石景山产业基金、东方精工、拓普集团、中信金石、中证投资等机构。
随即,市场传出“乐聚机器人目前已完成股改,IPO计划正在推进中”的消息。就该传闻,源媒汇也致函乐聚方面求证,截至发稿未获回复。
天眼查显示,9月9日,乐聚市场主体类型发生变更,由“有限责任公司”变为“股份有限公司”,公司名称也由乐聚(深圳)机器人技术有限公司变为“乐聚智能(深圳)股份有限公司”。
2025年以来,人形机器人赛道持续火热,从追求融资规模转向订单规模,像优必选、宇树科技以及智元机器人等头部明星企业,均斩获不错的订单量。乐聚同样表现不俗,据综合报道,一季度其订单量暴涨200%。
但订单暴涨背后,乐聚的订单来源与股东资源之间的密切关联,也引发市场关注。
靠股东“爆单”
在当前的市场热度下,任何一家人形机器人企业IPO,对业内而言都不算稀奇。毕竟,资本追捧之下,人形机器人的技术进展,已由“半年一小变、一年一大变”,晋升到“一月一小变、一季一大变”。甚至有企业恨不得宣告,自己的人形产品可以做到“按周”乃至“按日”秀进展。
据不完全统计,截至2025年6月底,全球人形机器人领域已发生融资事件超过83起,总金额突破140亿元,全面超越2024年全年的67起、110亿元的纪录。资本的密集下注,正在推动这一新兴赛道从“热潮”走向“硬碰硬”的产业化竞争阶段。
技术迭代提速、终端应用场景拓宽,加上订单持续暴涨,下一步自然就要向着IPO奔去。但细究之下会发现,结果或许并没有想象的乐观。
源媒汇梳理发现,当前人形机器人企业宣告的所谓“巨额订单”,或存在一定“水分”。不少企业依赖股东、合作伙伴“赏单”充门面,以此讲述“爆单”故事。
10月9日,智元机器人官宣拿下ODM巨头龙旗科技数亿元机器人框架订单,而上半年龙旗刚投资了智元;此外,智元还相继斩获富临精工、大丰实业上千万元大额订单。可在此之前,智元已与该两家企业共同投资设立合资公司。
类似的案例,也发生在“人形机器人一哥”优必选身上。2024年年报披露,居然智家拟于2025年年底前采购部署500台优必选仿真人形机器人,合作期内计划销售10000台。天眼查显示,居然智家是优必选的早期投资股东。
乐聚同样“深谙此道”。7月21日,乐聚与东方精工签署战略合作协议,旨在实现人形机器人规模化制造,推动其在工业、商业、家庭等领域的应用落地。彼时,乐聚刚刚完成股东结构调整,东方精工跻身其股东行列。
股东“赏单”之外,天眼查显示,2025年以来,乐聚中标订单的采购对象多为学校。不仅仅是乐聚,像优必选、宇树、智元等一批人形机器人企业现下的采购主力,同样也多是学校。对此,业内质疑:“去掉卖给学校的、租给表演的、金主爸爸赏的以及给政府的,企业真正卖出去的机器人又有几台?”

图片来源于天眼查
从股权投资到产业协同,再到订单兑现,似乎已成为人形企业之间“心照不宣”的商业玩法。只是,这种股东与订单深度绑定的模式,虽然在企业发展初期能够提供重要支持,但长期来看,企业独立获取订单的能力才是市场最看重的。
腾讯、茅台争投
乐聚算是国内较早布局人形机器人的企业。
2012年,乐聚创始人冷晓琨带领哈工大机器人队登上央视春晚,并在4年后南下深圳,成立乐聚(深圳)机器人技术有限公司。成立首年,公司便推出国内首款可快速行走的小型双足人形机器人Aelos。
之后,赶上人工智能教育风口,乐聚通过教育机器人市场实现了“技术沿途下蛋”,为攻克人形机器人核心技术提供资金支持。
2023年算是乐聚的技术分水岭,彼时其基于华为鸿蒙系统发布首款人形机器人KUAVO,并成为首批接入华为具身智能产业链的企业。之后,公司又与海尔、中国移动、江苏亨通等头部企业达成战略合作。
产品上进展不断,自然不乏资本追捧。天眼查显示,2016年至今,乐聚已完成6轮融资。其中,在A轮和B轮融资中,腾讯产业共赢基金以及林芝利新信息技术有限公司进行了参投。股权穿透后发现,这两家均为腾讯创始人马化腾控股的企业。

图片来源于天眼查
而在前述Pre-IPO轮融资中,除了拓普集团、东方精工等产业资本外,茅台金石(贵州)产业发展基金合伙企业(下称“茅台金石基金”)也在参投名单中。茅台金石基金由贵州茅台、茅台基金与中信金石投资共同出资成立,乐聚也是目前该基金投资的唯一一家人形机器人企业。
但资本宠儿乐聚,却也面临着与同行一样的困扰:如何进行商业化落地?
此前,乐聚CEO常琳曾言,发展到当前阶段,乐聚已经过了强调融资的时期,目前公司战略聚焦于商业化交付。同时,常琳认为,一家公司如果可以在量产能力、机器寿命以及小批量交付上实现领先,再在接下来把大批量的产业化场景牢牢抓住,到那个时候不同企业之间的代差会越来越大。
那么乐聚的量产交付情况如何?据综合报道,2025年年初,公司第100台全尺寸人形机器人已交付北汽越野车,主要运用在空箱搬运及物流分拣两个场景。
这在头部企业中处于何种水平?据综合数据,2024年,宇树人形机器人交付量突破1500台,智元累计下线1000台通用具身机器人。与之相比,乐聚差距巨大。
值得一提的是,2024年宇树的营收已达10亿元量级,且已盈利多年。虽然市场曝出2025年一季度乐聚订单暴涨,但具体营收情况尚不得而知。
IPO竞赛热潮
当人形机器人企业对营收“讳莫如深”,业内的IPO竞赛却悄然拉开序幕。
2025年3月,市场首次传出智元要IPO的消息;5月,媒体曝出智元招聘证券事务主管的信息,岗位职责明确包括“协助推进IPO时间表及执行方案”;同时,公司也在招募为IPO、再融资等提供法律支持的法务总监。
这些动向进一步强化了智元的上市预期。然而两个多月后,智元却突然反向收购A股上市公司上纬新材,被视为“借壳上市”的前奏,但公司随后予以否认。紧接着,市场又传出智元要赴港IPO的消息,公司方面则回应称“相关信息不实,暂无赴港上市明确计划”。
智元之外,宇树的IPO也已提上日程。7月,中信证券与宇树通过公开发行辅导监管系统提交了辅导备案登记材料,并已获证监会公示。
近来,中信证券提交的“辅导工作进展情况报告(第一期)”透露,经审议通过,宇树决定更名为“宇树科技股份有限公司”(之前为“杭州宇树科技股份有限公司”),目前正在办理相关变更程序。
除了上述两家公司之外,其他一些细分赛道的机器人企业,也在争相IPO。据不完全统计,2025年以来,已有优艾智合、珞石机器人、斯坦德机器人、乐动机器人、极飞科技、微亿智造、云迹科技等一批具身智能、移动机器人、农业机器人等企业在港交所递交招股书,其中有部分企业已顺利上市。
在这场IPO竞赛中,各家企业都在讲述不同的资本故事。只是,在失去股东的特殊资源支持后,这些企业还能否保持现有的增长势头,还需要打一个大大的问号。
甚至有业内声音认为,当前人形机器人领域存在明显的泡沫,许多企业的估值已经严重偏离其实际价值。
在此背景下,这些企业急于IPO,更像是资本周期与生存压力共同作用下的选择。对于众多企业而言,上市更像是一场马拉松路上的“能量补给”,而距离真正的大规模应用与商业化,其实还有很长的路要走。
如今,智元、宇树以及乐聚,一边在资本推动下努力奔赴IPO,一边通过垂直整合,构建自己的产业链体系。譬如乐聚,在产业链布局方面,已先后投资了泉智博、立聚动力、灵心巧手、刻行时空、具脑磐石、具识智能等上下游企业。
比起谁将率先登陆资本市场,成为A股“人形机器人第一股”,市场或许更关心谁能带来更实用、更人性化的人形机器人产品,以及实现可持续性的自我造血。
